Comme on est quelques uns à être intervenus sur le train AR de 3200 ou GS pour changer les soufflets de rotules, ben on a tout déréglé sur l'AR. J'ai cherché de mon côté en essayant d'adapter des méthodes glanées sur le forum, mais sans grand succès car sans expérience dans le domaine.
En cherchant sur le net je suis tombé sur une méthode simple (sur le papier) et surtout peu coûteuse car si je ne deviens pas un grand géomètre, je n'aurai pas besoin de laser et autres tous les jours.
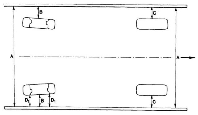
Donc la méthode (trouvée sur un site de courseux en Lotus) : il s'agit de faire un rectangle autour de la voiture avec des ficelles, pour ensuite mesurer au réglet les roues.
https://111racers.wordpress.com/2016/03 ... n-arriere/
Lien intéressant aux US avec cette méthode commentée
https://www.youtube.com/watch?v=eYcywcl7Dfc
Il est dit que si on adopte la méthode, l'assistante apparait pour nous aider
En vrai, ben c'est pas si simple à faire, j'ai essayé aujourd'hui sur l'AR gauche (seul train ou je suis intervenu) et ca tire un peu a gauche quand même. D'ailleur Gemini, j'ai cru voir la petite lumiere verte ASR en charge en 4°, donc cela rejoindrait ton expérience. JE vais continuer à creuser.
Voilà si certains ont des astuces, ou des idées à partager ici merci d'avance







